商標遭搶注!如何應對?記住這三條
最近,因為偶然被拍下純真笑容而走紅的藏族小伙丁真,受到了許多人的關注,還成了自己家鄉四川省理塘縣的旅游形象大使。

更有趣的是,丁真走紅后,各省的文旅官博紛紛下場,發起了“搶人大戰”,在玩梗玩得甚是歡樂的同時,商標也沒有閑著。

11月以來,“丁真”商標已被多家公司搶注,包括惠州市一點百眾文化傳媒有限公司、北京文登教育科技有限公司、蕪湖若森企業服務有限公司等,類別涉及日化用品、教育娛樂、網站服務等。

對此,理塘縣國有資產經營投資管理集團有限責任公司高管張璽表示:“有些‘丁真’的商標在2018年就注冊了,他(公司)注冊他的商標沒有問題。我們下一步會把丁真的頭像等肖像權一一注冊,這個事我們已經在做了。”
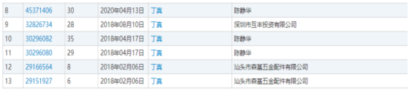
經查詢,2018年2月6日至2020年4月13日,已經有6件“丁真”商標被申請,大部分都已申請成功。

丁真的全名叫扎西丁真,這位出生于2000年的藏族小伙,生活在康巴藏區,因其原生態的野性美和清澈純真的眼神,讓丁真爆紅網絡。
先是馬保國,自稱“渾元形意太極門掌門”的馬保國30秒被人3次KO一事一度引發網絡熱議。接著,馬保國的一段視頻流出,年輕人,我勸你“耗子尾汁”,被眾多網友們調侃。

隨之而來的是“耗子尾汁”被搶注商標和公司;跟“馬保國”相關的熱詞諸如“五連鞭”、“渾元”、“形意”、“接化發”、“不講武德”一個也沒有放過,甚至還有人要出價15萬購買相關商標。

而丁真,似乎與馬保國有著相同的爆火體質,一個70歲,一個20歲;一個山東人,一個四川人;一個習武,一個放牛。這兩個八竿子打不到一起的人,意外成為了如今全網最紅的兩個男人,也因為火,從網絡圈擴散到了商標圈,成為了很多人爭相搶注的對象!

商標法第三十二條:
申請商標注冊不得損害他人現有的在先權利,也不得以不正當手段搶先注冊他人已經使用并有一定影響的商標。
在此之前注冊“丁真”商標無可厚非,只是碰巧“丁真”火了,這些公司撿了個大便宜!但是在丁真爆火以后搶注其姓名商標,就沒有那么簡單了!最終能否成功注冊,還要看丁真及其簽約公司怎么處理了。
商標被搶注怎么辦?
應對搶注商標的三種方法:
1、對未獲準注冊的商標可以提起異議
根據我國《商標法》,注冊商標應當先由商標局進行初步審查,通過審查的,進入公告期,公告期時間為三個月。
一定要時刻關注該商標的狀態,以便在其被公告時第一時間提出異議,同時著重開始準備證據材料。至于準備哪些方面的證據,將在后文予以介紹。
創業者可以在這三個月的時間里,通過專門的商標代理機構向國家商標局提起商標異議。被搶注方的法律依據是《商標法》第三十一條 的規定,申請商標注冊不得損害他人現有的在先權利,也不得以不正當手段搶先注冊他人已經使用并有一定影響的商標。
2、已經獲得注冊的商標可以提起撤銷程序
如果搶注的商標已經過了公告期,獲得注冊了,此時創業者可以根據商標法第四十一條的規定,向國家知識產權局商標評審委員會提起商標無效宣告申請。商標法對無效宣告申請有五年的限制規定,即如果商標獲得注冊時間超過5年的,就不可以以被搶注為由進行撤銷。另外對于商評委的裁決,如果任何一方不服的,還可以向北京市第一中級人民法院提起行政訴訟。
3、全面完善的申請商標保護品牌
創業公司應當在創業之初就把主要的產品和服務申請商標。很多時候,創業者因為資金緊張,沒有申請商標,這對公司的發展是重大隱患,現在互聯網競爭異常激烈,如果被競爭對手搶注了商標,然后持續投訴,對公司發展的打擊會非常巨大。另一種是申請不足,即雖然申請了核心類別,但關聯防御類別沒有申請,比如教育行業,只申請了第41類的教育類,但沒有申請第9類,第16類等關聯防御類別,此時被人搶注相關類別被競爭對手打擦邊球,大大稀釋了品牌辨識度